ESD Immunity Test Equipment

ESD Immunity Test Equipment

ESDGuns.com stocks equipment for electrostatic discharge from EMC Partner, Teseq, Haefely, Noiseken, 3ctest, and many other manufacturers. Our ISO 17025 scope covers most anything utilized in ESD testing. Need to transition to Edition 3 of IEC 61000-4-2? Contact Us


  • Rent Teseq NSG 438 30kV ESD Simulator Gun with control unit and ergonomic discharge handle for ISO 10605 and MIL-STD 331 testing applications. Rent Teseq NSG 438 30kV  ESD Simulator Gun

    Teseq ESD Guns Rent Teseq NSG 438 30kV ESD Simulator Gun

    In Stock  In Stock
    Monday to friday we offer next day delivery if the product is in stock and exceptions on holidays.

    Request Lead Time
    Equipment comes and goes everyday, we aren't automated for this website, contact us for status.

    International
    Depending on where you’re located, we offer next day delivery. Check your status on this link

    The Teseq NSG 438 ESD Simulator System (formerly by Schaffner) is one of the most commonly requested 30 kV ESD guns in the commercial electronic, automotive and military industries. ESD Guns stocks calibrated NSG 438's as well as an assortment of discharge networks and accessories (found below) for unique test applications. Process an online order now by adding this item to your cart and checking out, select your preferred shipping method or input your shipping account and tell us what method you want shipped. Two days are credited to allow for transit of the equipment, after 32 days your rental is prorated daily and invoiced/billed accordingly. Continue renting the Teseq NSG 438 as long as needed and return to our HQ in California, no RMA is required. If you require a formal quote to initiate the rental in your organization, contact us now. Teseq NSG 438 Rental Package Includes: HV Base Station w/ Internal Battery and Mount for Grounding Cable Interlock Connectors (QTY 2 Installed on Base Station) Discharge Pistol (Grounding Cable Installed) INA 4380 R/C Module (150pF/330Ohm) Contact Discharge Tip Air Contact Tip Pistol Cradle AC Power Adapter NIST Calibration Certificate with Data User Manual (PDF version below)

    In Stock  In Stock
    Monday to friday we offer next day delivery if the product is in stock and exceptions on holidays.

    Request Lead Time
    Equipment comes and goes everyday, we aren't automated for this website, contact us for status.

    International
    Depending on where you’re located, we offer next day delivery. Check your status on this link

    $365.00 - $2,270.00

  • 3ctest EDS MAX20 20 kV ESD gun with touchscreen interface, ideal for electrostatic immunity compliance testing. Promotional image of 3ctest EDS MAX20 ESD simulator highlighting best rental rates for new-to-market electrostatic discharge tool.

    3ctest EDS MAX20 20kV ESD Simulator

    In Stock  In Stock
    Monday to friday we offer next day delivery if the product is in stock and exceptions on holidays.

    Request Lead Time
    Equipment comes and goes everyday, we aren't automated for this website, contact us for status.

    International
    Depending on where you’re located, we offer next day delivery. Check your status on this link

    The EDS MAX20 is 3CTEST’s fourth generation ESD simulator in compliance with IEC 61000-4-2:2025 and other standards. This new product has a test voltage up to 20 kV and features 3.5 - inch high - definition color screen, along with compact mechanical design, intuitive UI design, lightweight, and impeccable waveforms . With three test modes designed in this eqent, the EDS MAX20 offers customers convenient operation tailored to their specific testing requirement, catering not only to research and development stage but also to quality check stage. Test Standards: MIL-STD-461 CS118 DO-160 SECTION 25 Bellcore GR-1089-Core ISO 14304 IEC 61000-6-2 IEC 61000-6-1 IEC 61326 IEC 61340-3-1 IEC 61000-4-2 ITU-T K.20 Features   >  3.5” HD color screen; >  Test voltage 20 kV; > 1.25 kg weight ( incl. battery ); >  Exquisite ergonomic design and UI design; > Built - in 3 test modes: standard test, sequence test and easy test; >  Changeable discharge tip; > Support remote control via optical fiber communication; >  Up to 18 working hours for rechargeable battery.   Standard Accessory Kit: Air Tip Contact Tip RC Module AC Adapter Ground Cable Alligator Clip Battery x2 Carrying Case Manual Stand

    In Stock  In Stock
    Monday to friday we offer next day delivery if the product is in stock and exceptions on holidays.

    Request Lead Time
    Equipment comes and goes everyday, we aren't automated for this website, contact us for status.

    International
    Depending on where you’re located, we offer next day delivery. Check your status on this link

    $260.00 - $7,975.00

  • ESD Generator Verification & Calibration Equipment Package

    ESDGuns.com ESD Generator Verification Equipment Package

    In Stock  In Stock
    Monday to friday we offer next day delivery if the product is in stock and exceptions on holidays.

    Request Lead Time
    Equipment comes and goes everyday, we aren't automated for this website, contact us for status.

    International
    Depending on where you’re located, we offer next day delivery. Check your status on this link

    ESDguns.com package for ESD equipment verification is everything you need to verify or calibrate an ESD simulator, less an oscilloscope usually available to most customers anyways.

    In Stock  In Stock
    Monday to friday we offer next day delivery if the product is in stock and exceptions on holidays.

    Request Lead Time
    Equipment comes and goes everyday, we aren't automated for this website, contact us for status.

    International
    Depending on where you’re located, we offer next day delivery. Check your status on this link

    $1,100.00 - $9,150.00

  • Schaffner / Teseq NSG 435 ESD Simulator for IEC 61000-4-2 Accessory Kit supplied when renting the Teseq NSG 435 ESD Simulator Gun

    Teseq ESD Guns Schaffner - Teseq NSG 435 ESD Simulator for IEC 61000-4-2

    In Stock  In Stock
    Monday to friday we offer next day delivery if the product is in stock and exceptions on holidays.

    Request Lead Time
    Equipment comes and goes everyday, we aren't automated for this website, contact us for status.

    International
    Depending on where you’re located, we offer next day delivery. Check your status on this link

    Teseq NSG 435 Overview Ergonomic design and advanced functionality. The pistol-shaped Teseq (formerly Schaffner) NSG 435 ESD simulator for IEC 61000-4-2 is designed to sit comfortably in the operator’s hand, with current operating conditions constantly displayed and clearly visible. The Teseq / Schaffner NSG 435’s microprocessor-based controller and multifunction keypad provide the operator with instant access to its comprehensive range of built-in functions. The LCD panel continuously displays the operating status and all user-selected test parameters.The Teseq NSG 435 ESD simulator has its own internal, battery operated high voltage generator. In addition to the pre-programmed, standard IEC pulses, the user can create custom tests using single or repetitive discharges with selectable rates and manual or automatic polarity switching. An optional mains supply is available for extended test operation or for use when the battery is being charged. Teseq NSG 435 Features Programmable discharge voltage 200V to 16.5kV Stabilized charging voltage Pre-programmed IEC/EN 61000-4-2 test settings True air-discharge breakdown voltage Compact and lightweight design Suitable for ANSI C63.16, RTCA/DO-160 and many more ESD immunity standards Teseq NSG 435 Includes Air Discharge Tip Contact Discharge Tip Grounding cable Rechargeable Battery Battery Charger Tripod Mount User Manual Calibration Certificate Durable Carrying Case ESDguns.com is now a division of The EMC Shop Ordering Options New - 2-Year Manufacturer's Warranty Used - 100 Day Warranty, fresh Calibration Certificate Rental - Calibrated, Options to buy (20% of rental applied)

    In Stock  In Stock
    Monday to friday we offer next day delivery if the product is in stock and exceptions on holidays.

    Request Lead Time
    Equipment comes and goes everyday, we aren't automated for this website, contact us for status.

    International
    Depending on where you’re located, we offer next day delivery. Check your status on this link

    $245.00 - $7,750.00

  • ESDGuns.com CST ESD Current Target for Waveform Verification CST2 4 GHz, 2 Ohm ESD Target Current Sensing Transducer

    ESDGuns.com CST2 4 GHz, 2 Ohm ESD Target Current Sensing Transducer

    In Stock  In Stock
    Monday to friday we offer next day delivery if the product is in stock and exceptions on holidays.

    Request Lead Time
    Equipment comes and goes everyday, we aren't automated for this website, contact us for status.

    International
    Depending on where you’re located, we offer next day delivery. Check your status on this link

    The ESD Guns CST2 ESD Target Current Sensing Transducer is a cost-effective solution that allows the user to take measurements conforming to the requirements of the most recent version of the IEC 61000-4-2 compliance standard up to 4GHz. ESD Guns CST2 Features: Meets MIL-STD-461G CS118 as well as IEC 61000-4-2 and almost every other ESD test standard Input Resistance 2.08 Ohm (±1%) (2.00 Ohm when matched with 50 Ohm load) Wideband up to 4GHz < ± 0.5 dB up to 1GHz < ± 1.2 dB up to 4GHz 0.5A/V transfer impedance, ±1% (with a 20dB attenuator, 5A/V) Voltage Non-linearity <2% up to 20kV, < 5% up to ± 30kV ESD Guns CST2 Includes: CST2 2 Ohm ESD Current Target 20dB or 30dB Precision Attenuator RG400 Coaxial Cable N to SMA SMA to BNC Adapter Traceable Calibration Certificate User Manual Hardware and Nut Driver

    In Stock  In Stock
    Monday to friday we offer next day delivery if the product is in stock and exceptions on holidays.

    Request Lead Time
    Equipment comes and goes everyday, we aren't automated for this website, contact us for status.

    International
    Depending on where you’re located, we offer next day delivery. Check your status on this link

    $295.00 - $4,200.00

  • 3ctest EDS 10IC HBM and MM ESD Immunity Tester IC Test Socket - ESD Human Body Model and Machine Model ESD Test System

    3ctest 3ctest EDS 10IC HBM and MM ESD Immunity Tester

    In Stock  In Stock
    Monday to friday we offer next day delivery if the product is in stock and exceptions on holidays.

    Request Lead Time
    Equipment comes and goes everyday, we aren't automated for this website, contact us for status.

    International
    Depending on where you’re located, we offer next day delivery. Check your status on this link

    The 3ctest EDS 10IC is specially designed for HBM and MM ESD immunity test requirements, applicable to semiconductor devices like LED, transistors, IC, etc, as per IEC, ESDA, JEDEC, MIL, etc. At the same time, fully comply with the severest ESD voltage levels in the standards above. Rent, buy or lease the 3ctest EDS 10IC HBM and MM ESD Immunity Tester.  3ctest EDS 10IC Features: Touch screen intelligent operation Automatic identify RC modules and adjust the maximum voltage The lowest voltage 5V and 1V step for precise adjusting voltage Available for single or automatic discharge tests and setting times, frequency, etc Meets: ESDA ANSI/ ESD STM5.2-2009 JEDEC JESD22- A114E Jan.2007 ANSI /ESD-STM5.1 2007 MIL-STD-883G 28 Feb.2006 ANSI/JEDEC JS-001-2010 JEDEC JESD22- A115C Nov.2010

    In Stock  In Stock
    Monday to friday we offer next day delivery if the product is in stock and exceptions on holidays.

    Request Lead Time
    Equipment comes and goes everyday, we aren't automated for this website, contact us for status.

    International
    Depending on where you’re located, we offer next day delivery. Check your status on this link

    $165.00 - $1,795.00

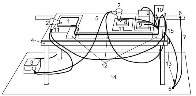
  • ESD Test Table/Bench with Coupling Planes and Grounding Cables - ESD Immunity Test Setup Diagram from IEC 61000-4-2 for ESD immunity Test Environment with Table/Bench, Coupling Planes and Grounding Cables

    ESDGuns.com ESD Test Table-Bench with Coupling Planes and Grounding Cables

    In Stock  In Stock
    Monday to friday we offer next day delivery if the product is in stock and exceptions on holidays.

    Request Lead Time
    Equipment comes and goes everyday, we aren't automated for this website, contact us for status.

    International
    Depending on where you’re located, we offer next day delivery. Check your status on this link

      ESDGuns.com will provide you a complete, easy to setup ESD immunity test environment according to IEC 61000-4-2, including a non-conductive test table/bench, coupling planes, resistave cables and the hard to find .5mm thick insulation foil.  ESDGuns.com has delivered over 300 completed test invornments as well as 200 additional custom ESD test tables. **Shipping can be expensive please contact ESDGuns.com to identify the nearest facility available for pick-up, delivery or courier. ESD Test Table Includes: Ground Coupling Plane Horizontal Coupling Plane Vertical Coupling Plane Insulation Sheet Wood Table (Typically 5' by 3') Grounding Cables with 470 kOhm resistors  

    In Stock  In Stock
    Monday to friday we offer next day delivery if the product is in stock and exceptions on holidays.

    Request Lead Time
    Equipment comes and goes everyday, we aren't automated for this website, contact us for status.

    International
    Depending on where you’re located, we offer next day delivery. Check your status on this link

    $4,750.00

  • Aprel EM-ISight-ESD Robotic Electro Static Discharge Measurement System ESD Discharge Measurement Software

    Aprel Aprel EM-ISight-ESD Robotic Electro Static Discharge Measurement System

    In Stock  In Stock
    Monday to friday we offer next day delivery if the product is in stock and exceptions on holidays.

    Request Lead Time
    Equipment comes and goes everyday, we aren't automated for this website, contact us for status.

    International
    Depending on where you’re located, we offer next day delivery. Check your status on this link

    Most customers commonly measure and monitor ESD immunity testing using electrostatic meters, voltmeters or scope probes to monitor ESD events. The Aprel ESD measurement solution takes it to another level, allowing users to capture realtime data and 3D imaging of their product during and after an electrostatic discharge test sequence. Another robot can be used to automatic placement of the discharges. The better the oscilloscope, the better quality of data will be generated. The software will measure and capture events across the complete product area in real time as the esd wave travels along your device. Post test analysis will highlight sensitive components or areas in red. Allowing for easy determination of the weak points and speeding up development cycles. ESD H-Field Probe Features: Highly shielded H‐Field probe Extended barrel length 220mm provides better isolation from high electric fields Isolation provided by unique core design, rejects electric fields stopping contamination of the transmission line High isolation allows for higher signal to noise ratio (isolation from electric fields) Probe has been designed to support ESD measurements Air Trigger Probe Features: Probe has been designed to trigger on the ESD event This design allows for complete autonomy from vendor specific ESD Generators Sets the oscilloscope and spectrum analyzer to measure Synchronously Application allows for acquisition of very fast signals Broadband allowing for greater flexibility

    In Stock  In Stock
    Monday to friday we offer next day delivery if the product is in stock and exceptions on holidays.

    Request Lead Time
    Equipment comes and goes everyday, we aren't automated for this website, contact us for status.

    International
    Depending on where you’re located, we offer next day delivery. Check your status on this link

    $0.00

  • ESVM High Voltage Electrostatic Voltmeter for ESD Generator Voltage Verification with digital display for precise electrostatic discharge testing. ESVM High Voltage Electrostatic Voltmeter displaying 8.0 kV for ESD generator voltage verification in a lab setup with digital readout.

    ESDGuns.com ESVM High Voltage Electrostatic Voltmeter for ESD Generator Voltage Verification

    In Stock  In Stock
    Monday to friday we offer next day delivery if the product is in stock and exceptions on holidays.

    Request Lead Time
    Equipment comes and goes everyday, we aren't automated for this website, contact us for status.

    International
    Depending on where you’re located, we offer next day delivery. Check your status on this link

    The ESVM High-impedance voltmeter for ESD Gun output voltage verification is a compact, cost effetive solution to verify the electrostratic discharge produced by simulators, guns pistols and generators. The ESVM ESD electrostatic voltmeter has a Measurement range: ± 1V ~ 100kV(customization), Accuracy: ± 1% ± 2 counts, Input impedance: ≥ 10 GΩ (customizable, like 30GΩ, 100GΩ), Display: 4 1/2 large LCD, Resolution: 1V. ESVM Includes: High Voltage Meter Input Tube Monitoring Probe 9V Battery AC Adapter Grounding Cable NIST Calibration Certificate User Manual Carrying Case ESVM Applications: Electrostatic voltage measurement ESD generator/simulator calibration Electrostatic voltmeter calibration High-impedance high-voltage measurement Suitable for use for ANSI C63.16, ISO 10605, Mil-STD 461G CS118 and more... ESVM Specifications: Range: ± 1V ~ 100 kV (customizable) Accuracy: ± 1% ± 2 counts Input impedance: 100 G ohm Display: 4 ½ large LCD/LED Resolution: 1V 20×15×50 cm (7.85×5.91×19.68 inch) 2 kg (4.41 lb) 

    In Stock  In Stock
    Monday to friday we offer next day delivery if the product is in stock and exceptions on holidays.

    Request Lead Time
    Equipment comes and goes everyday, we aren't automated for this website, contact us for status.

    International
    Depending on where you’re located, we offer next day delivery. Check your status on this link

    $399.00 - $4,200.00

  • 3ctest EDS 20H 20kV Electrostatic Discharge ESD Simulator 3ctest EDS 20H 20kV Electrostatic Discharge ESD Simulator

    3ctest 3ctest EDS 20H Hand-held 20kV Electrostatic Discharge ESD Simulator

    In Stock  In Stock
    Monday to friday we offer next day delivery if the product is in stock and exceptions on holidays.

    Request Lead Time
    Equipment comes and goes everyday, we aren't automated for this website, contact us for status.

    International
    Depending on where you’re located, we offer next day delivery. Check your status on this link

    The 3ctest EDS20H is a state of the art electrostatic discharge (ESD) simulator for immunity and compliance testing from 1 kV to 18 kV. It is a self contained pistol housing the High voltage source, battery and RC networks in one lightweight assembly. The user friendly touchscreen, ergonomic design, modular R/C units, remote control software, built-in LED light and temperature and humidity display allows quick and trouble-free us in all types of test sites.3ctest EDS20H Includes: 20kV ESD Generator AC Power Adapter for continuous testing QTY 2 Batteries Battery Charger Air Discharge Tip Contact Discharge Tip 150pF/330 Ohm R/C Network Grounding Cable HV Alligator Clip Ruggedized Carrying Case with Shoulder Strap Traceable Calibration Certificate User Manual 10% off Calibration Service for Life 3ctest EDS20H Features: Air- and Contact- Discharge: 1000-20,000V±5% Rise time: 0.6-1ns RC module: 150pF/330Ω Automatic identification of discharge module Voltage hold time: >5s As per: IEC61000-4-2, GB/T17626.2 LCD Touchscreen Automatic Polarity Switching Temperature & Humidity Monitoring Battery or mains operation with long battery life

    In Stock  In Stock
    Monday to friday we offer next day delivery if the product is in stock and exceptions on holidays.

    Request Lead Time
    Equipment comes and goes everyday, we aren't automated for this website, contact us for status.

    International
    Depending on where you’re located, we offer next day delivery. Check your status on this link

    $357.00 - $1,606.50

  • CST-PRP Current Sensing Target-Portable Reference Plane for ESD Generator Calibration CST-PRP Current Sensing Target/Portable Reference Plane for ESD Generator Calibration

    ESDGuns.com CST-PRP Current Sensing Target-Portable Reference Plane for ESD Generator Calibration

    In Stock  In Stock
    Monday to friday we offer next day delivery if the product is in stock and exceptions on holidays.

    Request Lead Time
    Equipment comes and goes everyday, we aren't automated for this website, contact us for status.

    International
    Depending on where you’re located, we offer next day delivery. Check your status on this link

    ESDGuns.com CST Current Sensing Transducer for ESD Generator Tip Verification allows the user to take measurements conforming to the requirements of the most recent version of the IEC 61000-4-2 compliance standard up to 4GHz. ESDGuns.com CST Features: Wideband up to 4GHz < ± 0.5 dB up to 1GHz < ± 1.2 dB up to 4GHz 0.5A/V transfer impedance, ±1% (with a 20dB attenuator, 5A/V) Gold plating surface Excellent voltage linearity up to 30kV Meets EN/IEC61000-4-2 V2009, ISO 10605 V2008, GB/T17626.2 Input Resistance 2.08 Ohm (±1%) (2.00 Ohm when match with 50 Ohm load) Voltage Non-linearity <2% up to 20kV, < 5% up to ± 30kV ESDGuns.com CST Includes: CST ESD Current Target 30dB Precision Attenuator RG400 Coaxial Cable N to SMA PRP Portable Reference Plane 17" by 13" Traceable Calibration Certificate

    In Stock  In Stock
    Monday to friday we offer next day delivery if the product is in stock and exceptions on holidays.

    Request Lead Time
    Equipment comes and goes everyday, we aren't automated for this website, contact us for status.

    International
    Depending on where you’re located, we offer next day delivery. Check your status on this link

    $495.00 - $4,225.00

  • CST1 1 Ohm ESD Calibration Target per ANSI C63 and MIL CST1 1 Ohm ESD Calibration Target per ANSI C63 and MIL

    ESDGuns.com CST1 1 Ohm ESD Calibration Target per ANSI C63 and MIL

    In Stock  In Stock
    Monday to friday we offer next day delivery if the product is in stock and exceptions on holidays.

    Request Lead Time
    Equipment comes and goes everyday, we aren't automated for this website, contact us for status.

    International
    Depending on where you’re located, we offer next day delivery. Check your status on this link

    The CST1 ESD calibration target is one of few 1 Ohm targets on the market available to purchase and measure the current waveform from your ESD generator according to ANSI C63, MIL, and a few other niche test standards.  ESD Guns CST1 Includes: CST1 Current Target 20 or 30dB Precision Attenuator RG400 Coaxial Cable N to SMA Hard Carrying Case Traceable Calibration Certificate Hardware and Nut Driver

    In Stock  In Stock
    Monday to friday we offer next day delivery if the product is in stock and exceptions on holidays.

    Request Lead Time
    Equipment comes and goes everyday, we aren't automated for this website, contact us for status.

    International
    Depending on where you’re located, we offer next day delivery. Check your status on this link

    $295.00 - $4,250.00

  • ESD30-AUTO Automotive Electrostatic Discharge Generator ESD30-AUTO Automotive Electrostatic Discharge Generator

    The EMC Shop ESD30-AUTO Automotive Electrostatic Discharge Generator

    In Stock  In Stock
    Monday to friday we offer next day delivery if the product is in stock and exceptions on holidays.

    Request Lead Time
    Equipment comes and goes everyday, we aren't automated for this website, contact us for status.

    International
    Depending on where you’re located, we offer next day delivery. Check your status on this link

    The EMC Shops’ ESD30-Auto is an easy to use electrostatic discharge generator tailored for automotive ESD standards ISO 10605, SAE J113/13, GMW 3097 and more. With a straightforward interface, compact package and low cost, the ESD30-Auto has been accepted by compliance laboratories and automotive electronics manufacturers alike. Configured with the standard package includes resistance 150pF and capacitance 330Ohm modules, suitable for basic ESD testing on commercial and military electronics (IEC 61000-4-2, MIL-STD 461, and more). With a level of configurations, the ESD30-Auto can be built for all-day, everyday use to occasional use, while being budget friendly. The EMC Shop, sister to ESDguns.com, has advanced knowledge and understanding of electrostatic discharge applications and serves as a resource before and after purchase. ESD30-Auto ESD Generator Features Meets ISO 10605 and manufacturer standards Built-in self test feature Integrated automatic charge absorber Ergonomic & Lightweight Straight forward and easy to use interface ≥ 5 second holding time Remote control software available Optional built in battery ESD30-Auto ESD Generator Includes ESD Generator with connection cable Desktop control unit with mains cable Capacitor module 150 pF Capacitor module 330 pF Resistor module 330 Ohm Resistor module 2000 Ohm Contact discharge test tip Air discharge test tip Discharge return cable, 2 m Manual Carrying Case Traceable Calibration Certificate (Accredited Available) Additional Options for ESD30-Auto ESD30-FRT Fast Rise Time Tip (.45 ns) ESD30-Arm Support arm with balancer ESD30B-HBM System with built in battery (same as ESD16/30) ESD-SPHERE-TIP Test tip, 30 mm diameter, for Air discharge > 15 kV ESD-TIP-EXT Test tip, 50 mm long with spring contact, for Contact discharge ESD 271 VCP – vertical coupling plate incl. Earth cable (2 x 470 kOhm) GRC-2M Earth cable set incl. 2 x 470 kOhm resistor, 2m long CST2 ESD Verification Set 2 Ohm (4 GHz) for verification the ESD pulse VGP Vertical Ground Plane for ESD Current Target Approx 4’ by 4’ ESD CONTROL Optical set and remote software ESD TEST ENVIRONMENT Turnkey setups for commercial or automotive ESD testing

    In Stock  In Stock
    Monday to friday we offer next day delivery if the product is in stock and exceptions on holidays.

    Request Lead Time
    Equipment comes and goes everyday, we aren't automated for this website, contact us for status.

    International
    Depending on where you’re located, we offer next day delivery. Check your status on this link

    $1,150.00 - $17,600.00

  • CST-ADAP Target Adapter Line for ESD Current Target Insertion Loss Measurement & Calibration CST-ADAP Target Adapter Line for ESD Current Target Insertion Loss Measurement & Calibration

    ESDGuns.com CST-ADAP Target Adapter Line for ESD Current Target Insertion Loss Measurement & Calibration

    In Stock  In Stock
    Monday to friday we offer next day delivery if the product is in stock and exceptions on holidays.

    Request Lead Time
    Equipment comes and goes everyday, we aren't automated for this website, contact us for status.

    International
    Depending on where you’re located, we offer next day delivery. Check your status on this link

    Ideal for use with ESD Guns CST2 Current Target Suitable for use with any ESD calibration target Designed per IEC 61000-4-2 and ISO 10605 Insertion Loss: ≤ 0.3 dB up to 4 GHz Reflection: < -30 dB up to 1 GHz, < -20 dB up to 4 GHz N-Type Connector Standard

    In Stock  In Stock
    Monday to friday we offer next day delivery if the product is in stock and exceptions on holidays.

    Request Lead Time
    Equipment comes and goes everyday, we aren't automated for this website, contact us for status.

    International
    Depending on where you’re located, we offer next day delivery. Check your status on this link

    $0.00

  • 3ctest EDS 30V Automotive ESD Test Generator Package

    3ctest 3ctest EDS 30V Automotive ESD Test Generator Package

    In Stock  In Stock
    Monday to friday we offer next day delivery if the product is in stock and exceptions on holidays.

    Request Lead Time
    Equipment comes and goes everyday, we aren't automated for this website, contact us for status.

    International
    Depending on where you’re located, we offer next day delivery. Check your status on this link

    The static electricity between human body and an object or between two objects sometimes can be up to tens of thousands of volts, which may cause electrical and electronic equipments circuit malfunction or even damage. EDS 30V is a most advanced intelligent electrostatic discharge generator, the output voltage 30kV, it is also China’s first independent research and development product with collection discharge tip and touch screen control in an electrostatic discharge simulator, in accordance with ISO 10605 and GB/T 19951 standards. LCD touch screen is simple and easy to operate, RC module can be replaced, the built-in temperature hygrometer, remote control software, to ensure the reliability of all kinds of tests. Applications: Communication  Information technology  Telecom  Automotive Military  Medical  Aviation  Broadcast and TV  New energy and power  Railway 3ctest EDS 30V Features: Air- and Contact- Discharge: 1000-30,000 Volts ±5% Resolution: 100 Volts Hold Time: >5 seconds Frequency Repetition: Single/0.2/0.2/0.5/1/2/5/10/20 Hz Standards Met: Bellcore GR-1089-Core, IEC/EN 61325, IEC/EN 61000-6-1 and 6-2, ISO 10605, ITU-TK.20, GB/T 17626.2 and more... Integrated sensor to monitor temperature and humidity Rise Time: 0.8 ns ±25% (0.6 to 1 ns) Current Peak Value Accuracy: ±10%

    In Stock  In Stock
    Monday to friday we offer next day delivery if the product is in stock and exceptions on holidays.

    Request Lead Time
    Equipment comes and goes everyday, we aren't automated for this website, contact us for status.

    International
    Depending on where you’re located, we offer next day delivery. Check your status on this link

    $1,195.00 - $14,195.00

  • Custom Wood Tables Custom Wood Tables

    ESDGuns.com Custom Wood Tables

    In Stock  In Stock
    Monday to friday we offer next day delivery if the product is in stock and exceptions on holidays.

    Request Lead Time
    Equipment comes and goes everyday, we aren't automated for this website, contact us for status.

    International
    Depending on where you’re located, we offer next day delivery. Check your status on this link

    We have been building custom wood tables for customers since the beginning and just getting around to posing some images.  Inquire with your requirement and we will get you a quote.

    In Stock  In Stock
    Monday to friday we offer next day delivery if the product is in stock and exceptions on holidays.

    Request Lead Time
    Equipment comes and goes everyday, we aren't automated for this website, contact us for status.

    International
    Depending on where you’re located, we offer next day delivery. Check your status on this link

    $0.00

  • DM3 Dissipative Mat for ISO 10605 ESD Testing

    ESDGuns.com DM3 Dissipative Mat for ISO 10605 ESD Testing

    In Stock  In Stock
    Monday to friday we offer next day delivery if the product is in stock and exceptions on holidays.

    Request Lead Time
    Equipment comes and goes everyday, we aren't automated for this website, contact us for status.

    International
    Depending on where you’re located, we offer next day delivery. Check your status on this link

    **If a formal quote is required please export the web page and send through your requisitioning system. We no longer generate formal quotes for orders under $500** Suitable for the test set-up of table-top equipment for ESD immunity per ISO 10605. The DM3 Insulation Support/Dissipative Mat is required for the non-chassis mounted DUT test setup, is 3 mm thick, Resistance 3.1015 Ohm/cm3.

    In Stock  In Stock
    Monday to friday we offer next day delivery if the product is in stock and exceptions on holidays.

    Request Lead Time
    Equipment comes and goes everyday, we aren't automated for this website, contact us for status.

    International
    Depending on where you’re located, we offer next day delivery. Check your status on this link

    $197.00

  • Elecro Tech Systems (ETS) 9910 Multi-Pin ESD Simulator for Microelectronic Devices - ESDGuns.com

    Electro Tech Systems Elecro Tech Systems (ETS) 9910 Multi-Pin ESD Simulator for Microelectronic Devices

    In Stock  In Stock
    Monday to friday we offer next day delivery if the product is in stock and exceptions on holidays.

    Request Lead Time
    Equipment comes and goes everyday, we aren't automated for this website, contact us for status.

    International
    Depending on where you’re located, we offer next day delivery. Check your status on this link

    Electrostatic discharge (ESD) has become a significant factor contributing to the disruption of electronic equipment or the premature failure of microelectronic devices in both the field and during the manufacturing process. Sensitivities below 30V are now common. Since it is not always possible to control the environment where electronic devices are used or handled, the burden of product reliability falls upon the manufacturer to design and build equipment with reduced susceptibility to ESD. The Model 9910 ESD Simulator is an invaluable tool in developing components for use in today’s military, industrial and consumer applications. The Elecro Tech Systems (ETS) 9910 Multi-Pin ESD Simulator for Microelectronic Devices is a bench top ESD Simulator designed for laboratory or low pin count testing. The Model 9910 is a microprocessor-based instrument that can be operated manually via the front panel keyboard or by computer control. Voltage is adjustable in 1 Volt increments. In addition, the user can program up to 9 preset voltages from ±5 to 8250V. Two modes of operation are available: In MANUAL mode, a Discharge is initiated each time the DISCHARGE button is depressed. In the AUTO mode, the number of discharges (0-99) and the interval (1-99 sec.), selected by the user, are activated when the DISCHARGE button is depressed. Typically, each device pin combination is tested at both polarities using 3 discharges at 1 second intervals. The discharge circuit consists of mercury high voltage relays for bounce-free operation, programmable selection of HBM, MM or CDM (optional) testing plus a switched output for connecting the Device Under Test (DUT) pin to a curve tracer or similar instrument. The Model 9910 also offers the optional capability to connect 2-5 additional discharge channels to the DUT (ground remains common). Each channel is selected by the user in the keyboard mode by pressing the appropriate key or by the computer in the Computer Control mode.

    In Stock  In Stock
    Monday to friday we offer next day delivery if the product is in stock and exceptions on holidays.

    Request Lead Time
    Equipment comes and goes everyday, we aren't automated for this website, contact us for status.

    International
    Depending on where you’re located, we offer next day delivery. Check your status on this link

    $0.00

  • EM Test Dito 16kV ESD Gun Rentals Rental Package of the EM Test Dito 16kV ESD Gun

    EM Test ESD Simulators EM Test Dito 16kV ESD Gun

    In Stock  In Stock
    Monday to friday we offer next day delivery if the product is in stock and exceptions on holidays.

    Request Lead Time
    Equipment comes and goes everyday, we aren't automated for this website, contact us for status.

    International
    Depending on where you’re located, we offer next day delivery. Check your status on this link

    The EM Test Dito Handheld Battery Operated ESD Simulator is best designed for the different requirements for testing electronics for immunity to electrostatic discharges. Its powerful battery allows to generate more than 50,000 pulses at 16.5kV. This is enough for more than a full day's job. Its different menus lead the user through standard tests, helps to evaluate the test points and allows to find susceptibility levels. The EM Test Dito's ergonomic design is recognized to be more user-friendly. There is no part of the EM Test Dito that hides the discharge tip while watching the display or operating the dito. You see where you point the tip no matter how you direct dito to the DUT. The discharge voltage is measured and recorded. Discharge is stopped automatically when battery voltage becomes low. The user is informed when dito cannot charge properly. All this helps to assure reliable and reproducible tests without any question mark and doubt. Discharge tips and discharge networks can easily be changed without disassembling the dito; simply remove one and plug-on another tip or module. The discharge modules are automatically recognized and the R/C configuration is shown in the display. You just can't use a wrong discharge network! EM Test Dito Features: Most ergonomic design Meets EN/IEC 61000-4-2 and more Light weight (870g) Interchangeable discharge tips Interchangeable R/C networks LiFePO4 power booster to perform long duration tests Library of standard test routines Test voltage measurement and control Various test routines for testing and evaluation EM Test Dito Includes: EM Test Dito 16kV ESD Gun EM Test DM1: 150pF/330ohm discharge module with built-in contact discharge relay Discharge tips for Air Discharge and Contact Discharge PowerPack dito Rechargeable battery LiFePo4 12.8V - 1000mAh Built in safety module for low voltage protection CU dito Battery charger charging unit for EM Test Dito Transportation case grounding lead 2m test certificate operation manual

    In Stock  In Stock
    Monday to friday we offer next day delivery if the product is in stock and exceptions on holidays.

    Request Lead Time
    Equipment comes and goes everyday, we aren't automated for this website, contact us for status.

    International
    Depending on where you’re located, we offer next day delivery. Check your status on this link

    $250.00 - $1,650.00

  • EM Test ESD NX30 Electrostatic Discharge Simulator w/ Charge Remover ESD NX 30 ESD Generators Intuitive Color Touch Screen Has IEC Levels Pre Programmed

    EM Test ESD Simulators EM Test ESD NX30 Electrostatic Discharge Simulator w- Charge Remover

    In Stock  In Stock
    Monday to friday we offer next day delivery if the product is in stock and exceptions on holidays.

    Request Lead Time
    Equipment comes and goes everyday, we aren't automated for this website, contact us for status.

    International
    Depending on where you’re located, we offer next day delivery. Check your status on this link

    The EM Test ESD NX30 is the first Electrostatic Discharge Simulator released by Ametek's Compliance Test Solutions (CTS) division. With the collaboration of EM Test and Teseq (formerly Schaffner) engineers, the ESD NX30 is the most advanced ESD generator available. The ESD NX30 electrostatic discharge simulator is an easy-to-use tester. It consists of a power supply unit and the discharge gun, operated from the discharge gun. It generates electrostatic discharges up to 30 kV in both air and contact discharge mode. The discharge tips can easily be changed. The discharge networks can be easily changed as they are plugged into the discharge gun. The actual discharge network in use is recognized by the controls and indicated in the display. Video Overview: EM Test ESD NX30 Electrostatic Discharge Simulator The ESD NX30 is either mains supplied or supplied by a DC source. Even battery powered operation is possible. Battery operation becomes relevant for testing e.g. as per DC-11224 or VW TL 824 66, ESD Operating Test, where the ground of the ESD generator is connected to the Field Coupling Plane and the Horizontal Coupling plane but not directly to the Reference Ground Plane. Additionally, a fiber optic link is offered as an option to communicate with the esd NX30 separating the sensitive computer from the test set-up and to avoid ground loops. ESDguns.com - Division of The EMC Shop

    In Stock  In Stock
    Monday to friday we offer next day delivery if the product is in stock and exceptions on holidays.

    Request Lead Time
    Equipment comes and goes everyday, we aren't automated for this website, contact us for status.

    International
    Depending on where you’re located, we offer next day delivery. Check your status on this link

    $990.00

  • Rent EMC Partner ESD3000 Handheld, 30kV Electrostatic Discharge (ESD) Tester - ESDGuns.com Rent 16kV of 30kV EMC Partner ESD3000 ESD Simulator System

    EMC Partner (HV Technologies) EMC Partner ESD3000 Handheld, Electrostatic Discharge (ESD) Tester

    In Stock  In Stock
    Monday to friday we offer next day delivery if the product is in stock and exceptions on holidays.

    Request Lead Time
    Equipment comes and goes everyday, we aren't automated for this website, contact us for status.

    International
    Depending on where you’re located, we offer next day delivery. Check your status on this link

    The EMC Partner ESD 3000 is a fully automated and programmable ESD simulator. It identifies which discharge module is installed and has a level selector button enabling the user to quickly scroll through and select the voltage from the levels appropriate to the standard and discharge mode. The set pulse count is executed with a single pull of the trigger in either air or direct contact mode. Polarity can be programmed to alternate or can be changed with the push of the +/- button at any time. Voltage can be programmed to ramp up or down or quickly changed at any time by using the up and down arrow buttons. Discharge Modules for EMC Partner ESD3000: DM1 for IEC 61000-4-2,ITU-T K20: 150pF / 330ohm +/- 0.2kV up to 10kV +/- 0.2kV up to 16kV DM2 for ISO TR10605, PSA Peugeot-Citroën B21 7110: 330pF / 2000ohm +/- 0.2kV up to 10kV +/- 0.2kV up to 16kV DM4 MIL-STD-883, GR78-CORE: 100pF / 1500ohm +/- 0.2kV up to 10kV +/- 0.2kV up to 16kV DM5 for RTCA/DO-160: 150pF / 330ohm no CD +/-1kV up to 30kV DM6 for IEC 61340-3-1, JEDEC 22-A114, MIL-STD-750D: 100pF / 1500ohm +/- 0.2kV up to 8kV no AD DM7 for IEC 61340-3-2, JEDEC 22-A115: 200pF / 0ohm +/- 0.1kV up to 2kV no ADDM8 for IEC 60571, EN 50155: rise time < 0.05µs duration 0.1µs +/- 0.2kV up to 10kV +/- 0.2kV up to 16kV RM32 0.7ns up to 1ns and < 400ps: +/- 1kV up to 30kV +/- 1kV up to 30kV DN1 for IEC 61000-4-2, RTCA/DO-160, PSA Peugeot-Citroën B21 7110, GMW 3100: 150pF / 330ohm +/- 1kV up to 30kV +/- 1kV up to 30kV DN2 for ISO TR10605, SAEJSSI-IS, FORD AB/AC, GMW 3097: 330pF / 2000ohm +/- 1kV up to 30kV +/- 1kV up to 30kV DN3 for ISO TR10605, SAEJSSI-IS, FORD AB/AC, GMW 3097: 150pF / 2000ohm +/- 1kV up to 30kV +/- 1kV up to 30kV DN4 for STANAG 4239, ISO 14304, MIL-STD-1512: 500pF / 5000ohm +/- 1kV up to 30kV +/- 1kV up to 30kV DN5 for MIL-STD-331C, MIL-DTL-23659D, STANAG 4239: 500pF / 500ohm +/- 2kV up to 30kV +/- 2kV up to 30kV DN6 for ISO TR10605: 330pF / 330ohm +/- 2kV up to 30kV +/- 2kV up to 30kV Accessory Kit: PistolGround CableAC adapter w/Charging CableAir tipContact tipCalibration CertificateAlligator ClipHardcaseUser ManualUSBRemote Cable

    In Stock  In Stock
    Monday to friday we offer next day delivery if the product is in stock and exceptions on holidays.

    Request Lead Time
    Equipment comes and goes everyday, we aren't automated for this website, contact us for status.

    International
    Depending on where you’re located, we offer next day delivery. Check your status on this link

    $895.00 - $1,495.00

  • ESD Generator Current Measurement Setup per IEC 61000-4-2 edition 3 Side view of new Current Measurement Setup for ESD Generators according to IEC 61000-4-2

    ESDGuns.com ESD Generator Current Measurement Setup

    Request Lead Time  In Stock
    Monday to friday we offer next day delivery if the product is in stock and exceptions on holidays.

    Request Lead Time
    Equipment comes and goes everyday, we aren't automated for this website, contact us for status.

    International
    Depending on where you’re located, we offer next day delivery. Check your status on this link

    Pictured is the first build to comply with edition 3 of IEC 61000-4-2, released in 2025. With customer feedback, it will likely evolve and may look different. Ground cable connection is about complete but not pictured. Order just the ground plane and stand with a pre-drilled hole for the current target, add a shelf, add a shelf with ferrite and absorber, or add an enclosure. Contact us with questions. We will offer retrofit guidance and materials if you ordered a VGP from us in the past two years, it still can be used with a tripod to get data pretty close to the fully compliant setup.  

    Request Lead Time  In Stock
    Monday to friday we offer next day delivery if the product is in stock and exceptions on holidays.

    Request Lead Time
    Equipment comes and goes everyday, we aren't automated for this website, contact us for status.

    International
    Depending on where you’re located, we offer next day delivery. Check your status on this link

    $3,250.00 - $9,850.00

  • ESD-BR Electrostatic Charge Removal Brush

    ESDGuns.com ESD-BR Electrostatic Charge Removal Brush

    In Stock  In Stock
    Monday to friday we offer next day delivery if the product is in stock and exceptions on holidays.

    Request Lead Time
    Equipment comes and goes everyday, we aren't automated for this website, contact us for status.

    International
    Depending on where you’re located, we offer next day delivery. Check your status on this link

    Removes residual electrostatic charge built up on an EUT by sweeping the surface in order to avoid unintended discharge voltage (Reducing possible miss discharge)

    In Stock  In Stock
    Monday to friday we offer next day delivery if the product is in stock and exceptions on holidays.

    Request Lead Time
    Equipment comes and goes everyday, we aren't automated for this website, contact us for status.

    International
    Depending on where you’re located, we offer next day delivery. Check your status on this link

    $1,495.00

  • ESD16 16.5kV ESD Simulator for IEC/EN 61000-4-2 ESD16 ESD Simulator Equipment Package

    The EMC Shop ESD16 16.5kV ESD Simulator for IEC-EN 61000-4-2

    In Stock  In Stock
    Monday to friday we offer next day delivery if the product is in stock and exceptions on holidays.

    Request Lead Time
    Equipment comes and goes everyday, we aren't automated for this website, contact us for status.

    International
    Depending on where you’re located, we offer next day delivery. Check your status on this link

    ESD16 16.5kV ESD Simulator for IEC/EN 61000-4-2 The ESD16 16.5kV ESD Simulator is suitable for performing EMI tests on systems in accordance with the standard EN/IEC 61000-4-2, ANSI C63.16, MIL-STD-461G CS118, DO-160 Section 25, and many other test standards/normative referencess with the 150pF/330Ohm requirement. Higher test levels can be set far beyond the standard limits. Depending on the test object and test setup, two test methods are to be used: Air Discharge In this case, the pulse is triggered by approaching the ESD16 towards the DUT. The high voltage applied to the discharge electrode is discharged suddenly, resulting in a very broadband highfrequency interference spectrum. This in turn can lead to influences on the test specimens. Contact Discharge With this method, the probe of the generator is placed directly on the test object. The actual "impulse triggering" takes place via a relay contact and reduces the influencing factors such as approach speed, amplitude height, air humidity and temperature.Important: In the case of non-contacting (eg painted or oxidized surface), the impulses are not triggered. The display shows "No contact". This ensures that when triggering a discharge actually takes place. The contact discharge is the preferred test method since it is most reproducible. Air discharges are used when contact discharges are not possible - e.g. at plastic housings. The test voltages defined for each test method are shown in the table below:

    In Stock  In Stock
    Monday to friday we offer next day delivery if the product is in stock and exceptions on holidays.

    Request Lead Time
    Equipment comes and goes everyday, we aren't automated for this website, contact us for status.

    International
    Depending on where you’re located, we offer next day delivery. Check your status on this link

    $495.00 - $7,890.00

  • ESD30 30kV ESD Simulator for IEC-EN 61000-4-2 ESD16 ESD Simulator Equipment Package

    The EMC Shop ESD30 30kV ESD Simulator for IEC-EN 61000-4-2

    In Stock  In Stock
    Monday to friday we offer next day delivery if the product is in stock and exceptions on holidays.

    Request Lead Time
    Equipment comes and goes everyday, we aren't automated for this website, contact us for status.

    International
    Depending on where you’re located, we offer next day delivery. Check your status on this link

    ESD30 ESD Simulator Includes Everything for Testing: ESD30 Handheld, battery operated ESD simulator Battery charger/AC Adapter Air discharge tip Contact discharge Ground cable 1 meter Manual Calibration Certificate 10% off Calibration Service for Life of the Unit ESD30 30kV ESD Simulator for IEC/EN 61000-4-2 The ESD30 30kV ESD Simulator is suitable for performing EMI tests on systems in accordance with the standard IEC / EN 61000-4-2 , MIL-STD-461G CS118, RTCA/DO-160 Section 25, IEC 60601-1-2 and many other ESD test standards. Higher test levels can be set far beyond the standard limits. Depending on the test object and test setup, two test methods are to be used: Air Discharge In this case, the pulse is triggered by approaching the ESD16 towards the DUT. The high voltage applied to the discharge electrode is discharged suddenly, resulting in a very broadband highfrequency interference spectrum. This in turn can lead to influences on the test specimens. Contact Discharge With this method, the probe of the generator is placed directly on the test object. The actual "impulse triggering" takes place via a relay contact and reduces the influencing factors such as approach speed, amplitude height, air humidity and temperature.Important: In the case of non-contacting (eg painted or oxidized surface), the impulses are not triggered. The display shows "No contact". This ensures that when triggering a discharge actually takes place. The contact discharge is the preferred test method since it is most reproducible. Air discharges are used when contact discharges are not possible - e.g. at plastic housings. The test voltages defined for each test method are shown in the table below: ESD30 Features Programmable discharge voltage 200V to 30kV Stabilized charging voltage Pre-programmed IEC/EN 61000-4-2 test settings True air-discharge breakdown voltage Compact and lightweight design ESDguns.com is now a division of The EMC Shop  

    In Stock  In Stock
    Monday to friday we offer next day delivery if the product is in stock and exceptions on holidays.

    Request Lead Time
    Equipment comes and goes everyday, we aren't automated for this website, contact us for status.

    International
    Depending on where you’re located, we offer next day delivery. Check your status on this link

    $795.00 - $12,275.00

  • ESD30-HBM Human Body Model ESD Simulator per MIL-STD-883 and More Human Body Model ESD HBM Current Waveform from ESD30-HBM

    The EMC Shop ESD30-HBM Human Body Model ESD Simulator per MIL-STD-883 and More

    In Stock  In Stock
    Monday to friday we offer next day delivery if the product is in stock and exceptions on holidays.

    Request Lead Time
    Equipment comes and goes everyday, we aren't automated for this website, contact us for status.

    International
    Depending on where you’re located, we offer next day delivery. Check your status on this link

    The ESD30-HBM is an easy-to-use electrostatic discharge generator tailored for human body model ESD standards MIL-STD-750D, JS-001-2017, IEC 61340-3-1, JEDEC 22-A114, and more. With a straightforward interface, compact package, and low cost, the ESD30-HBM has been accepted by compliance laboratories and component-level test engineers. By disconnecting the HBM module from the tip of the ESD generator, standard system level testing can be accomplished to IEC 61000-4-2, MIL-STD 461G CS118, DO-160 Section 25, and many more. With a level of configurations, the ESD30-HBM can be built for all-day, everyday use to occasional use, while being budget-friendly. The EMC Shop, sister to ESDguns.com, has advanced knowledge and understanding of electrostatic discharge applications and serves as a resource before and after purchase. ESD30-HBM Human Body Model ESD Package Includes: ESD Generator with connection cable  Desktop control unit with mains cable Capacitor module 100 pF Resistor module 1500 Ohm   HBM Module Contact discharge test tip Air discharge test tip Discharge return cable, 2 m Manual   Carrying Case Traceable Calibration Certificate (Accredited Available) 10% off Calibration Service for Life

    In Stock  In Stock
    Monday to friday we offer next day delivery if the product is in stock and exceptions on holidays.

    Request Lead Time
    Equipment comes and goes everyday, we aren't automated for this website, contact us for status.

    International
    Depending on where you’re located, we offer next day delivery. Check your status on this link

    $1,475.00 - $22,500.00

  • ESD Guns GRC-40KV-CC Ground Cable with Resistors for ESD Voltage Bleeding ESD Test Bench Setup with Ground Planes and Grounding Cables

    ESDGuns.com ESDGuns.com GRC Series Ground Cable w- 470k Ohm Resistors for ESD Voltage Bleeding

    In Stock  In Stock
    Monday to friday we offer next day delivery if the product is in stock and exceptions on holidays.

    Request Lead Time
    Equipment comes and goes everyday, we aren't automated for this website, contact us for status.

    International
    Depending on where you’re located, we offer next day delivery. Check your status on this link

    **If a formal quote is required please export/print the web page and send through your requisitioning system.** Metal Oxide resistors discontinued in 2020, HV Precision Resistors or Bust! Edition 3 adjusted tolerances to 10%, MO resistors are back! The indirect discharge part of ESD immunity test uses two planes, known as the vertical coupling plane (VCP) and the horizontal coupling plane (HCP) and coupled to the ground reference plane (GRP). The HCP remains in place under the EUT during the direct tests, the VCP to be placed at a 10 cm distance from the EUT. Each coupling plane requires a connected to the GRP by the ESDGuns.com GRC resistor lead, to ensure that any charge bleeds off within a few microseconds. The construction of these leads is critical: there should be a resistor close to each end, so that the length of lead between them is isolated from the connections and stray coupling to it is neutralized. Although power rating is unimportant, the resistors themselves should withstand a high pulse dv/dt without breaking down, for which low inductance carbon composition types are best suited. The ESDGuns.com GRC Resistor Cables are ideal for bleeding voltage during ESD immunity testing to IEC 61000-4-2, ISO 10605, DO-160 Section 25, Mil-STD CS118  and virtually every other compliance standard. Using high quality components and built in the USA, ESDGuns.com is the only stocking manufacturer of these ESD cables/leads, making them immediately available at an economic price. The GRC ground cables are offered with metal oxide and precision HV 470k Ohm bleeder resistors. Both are suitable to withstand a high pulse dv/dt without breaking down. Precision HV resistors are more resilient and will last much longer. High Voltage Cables: High voltage cabling rated to 20kV exceed the test levels called out for IEC 61000-4-2 test levels. Alternatively, high voltage cabling rated to 40kV exceed the voltage output of any portable ESD simulator rated to 30kV. Which GRC Resistors Should I Pick? ESD testing is difficult to keep consistent from day to day (temp/humidity), to user (test technique), and a variety of other factors. While it's our experience and view the indirect ESD dissipation via GRC cables have an insignificant impact on test results, it's possible others feel different. The primary difference between resistor types will be longevity of the resistor life. Other Considerations: Frequency of ESD testing: If you are an all day, every day ESD immunity test lab, precision HV is the most suitable route. Do you test and debug once a day, once a week or less? Metal oxide may be suitable. Type of testing, precompliance or compliance: Just troubleshooting and debugging, looking to get an idea how your product will perform? Metal oxide resistors should suffice, of course the ESD dissipatition will be more consistent with Precision HV resistors. Environment of storage and conditioning: Metal oxide resistors will be suitable in climate control labs. If the GRC cables are exposed to large swings in temperature and humidity, consider Precision HV resistors for consistency and longevity. Concern for accuracy and consistency: By now, you have a good idea. We've had customers who look to improve all areas of ESD testing because their products achilles' heel is ESD. Philosophically, repeatability in ESD may or may not help resolve real world ESD failures. ESDGuns.com offers a 2-Year warranty on the precision HV resistors and a 1-Year warranty on metal oxide resistors.      

    In Stock  In Stock
    Monday to friday we offer next day delivery if the product is in stock and exceptions on holidays.

    Request Lead Time
    Equipment comes and goes everyday, we aren't automated for this website, contact us for status.

    International
    Depending on where you’re located, we offer next day delivery. Check your status on this link

    $297.00 - $499.00

  • ESVM-NC Non-Contact Electrostatic Voltmeter ESVM-NC Non-Contact Electrostatic Voltmeter

    ESDGuns.com ESVM-NC Non-Contact Electrostatic Voltmeter

    In Stock  In Stock
    Monday to friday we offer next day delivery if the product is in stock and exceptions on holidays.

    Request Lead Time
    Equipment comes and goes everyday, we aren't automated for this website, contact us for status.

    International
    Depending on where you’re located, we offer next day delivery. Check your status on this link

    The ESVM-NC Non-Contact Electrostatic Voltmeter utilizes a sensor shutter/switcher technology which provides long term stability without drift or the need to frequently re-zero the meter. This technology also eliminated false or offset readings due to charged air molecules/ air ions. The sensor has a 29 inch detachable cable which can be extended by an additional six feet. The meter measures the magnitude and polarity of static charge on objects or surfaces. The sensor is calibrated for measuring a surface at 1” from the sensor. On a metallic or conductive surface, the meter measures the voltage on the surface. (As with any electrostatic voltmeter, the displayed reading depends somewhat on the size of the object being measured and the distance between the object and the sensor.) On insulating surfaces, “voltage” is not a well-defined number. In this case, the meter reads a number proportional to the static charge present. The SVM2 has high sensitivity (resolution), and can detecteven a 1/10 volt change anywhere within its full range of +19,999.9 to -19,999.9 volts. An analog output jack provides a DC output voltage of +/- 0 to 2 volts which proportionally corresponds to the display and measurement of 0 to 20K volts. An optional USB port allows reading to be recorded and uploaded to a PC. Real-time data streaming is also supported via the USB Port. Note the “Record” has no function without the USB option installed. ESVM-NC Non-Contact Electrostatic Voltmeter Applications: Measurement of electrostatic surface charge build up Manufacturing processes Electronic assembly testing Semiconductor material testing Dissipative material testing Automotive electronics testing ESD Auditing and troubleshooting

    In Stock  In Stock
    Monday to friday we offer next day delivery if the product is in stock and exceptions on holidays.

    Request Lead Time
    Equipment comes and goes everyday, we aren't automated for this website, contact us for status.

    International
    Depending on where you’re located, we offer next day delivery. Check your status on this link

    $299.00

  • Extra Large VCP Vertical Coupling Plane

    ESDGuns.com Extra Large VCP Vertical Coupling Plane

    In Stock  In Stock
    Monday to friday we offer next day delivery if the product is in stock and exceptions on holidays.

    Request Lead Time
    Equipment comes and goes everyday, we aren't automated for this website, contact us for status.

    International
    Depending on where you’re located, we offer next day delivery. Check your status on this link

    XL VCP Vertical Coupling Plane consists of: VCP Aluminum 1.2m by 1.2m Wood Stand Ground Cable with 470k Ohm resistors for voltage bleeding

    In Stock  In Stock
    Monday to friday we offer next day delivery if the product is in stock and exceptions on holidays.

    Request Lead Time
    Equipment comes and goes everyday, we aren't automated for this website, contact us for status.

    International
    Depending on where you’re located, we offer next day delivery. Check your status on this link

    $0.00

  • Haefely ONYX 16 ESD Generator Gun Rental package of a Haefely ONYX ESD Generator

    Haefely ESD Generators Haefely ONYX 16 kV ESD Generator Gun

    In Stock  In Stock
    Monday to friday we offer next day delivery if the product is in stock and exceptions on holidays.

    Request Lead Time
    Equipment comes and goes everyday, we aren't automated for this website, contact us for status.

    International
    Depending on where you’re located, we offer next day delivery. Check your status on this link

    The Haefely ONYX 16 kV electrostatic discharge simulator is the most ergonomic ESD generator gun without an additional base control unit that can be battery or mains operated. The easy to use touch screen, ergonomic design, modular RC units, multilingual interface, remote control software, built-in LED light and temperature & humidity display allows for trouble-free use of the Haefely ONYX 16 kV in all types of test sites. The smart key button, integrated into the trigger button has various functions that can be defined by the user including polarity switching, LED light, counter reset, voltage stepping up/down and others. The Haefely ONYX 16 kV ESD generator gun also features a unique self test which verifies all of the main components of the unit are working correctly.This ensures that accurate and reliable tests are performed every time the gun is used.

    In Stock  In Stock
    Monday to friday we offer next day delivery if the product is in stock and exceptions on holidays.

    Request Lead Time
    Equipment comes and goes everyday, we aren't automated for this website, contact us for status.

    International
    Depending on where you’re located, we offer next day delivery. Check your status on this link

    $471.00 - $595.00

  • HBM/MM RC Network Package for Teseq NSG 438 ESD Simulator

    Teseq ESD Guns HBM-MM RC Network Package for Teseq NSG 438 ESD Simulator

    In Stock  In Stock
    Monday to friday we offer next day delivery if the product is in stock and exceptions on holidays.

    Request Lead Time
    Equipment comes and goes everyday, we aren't automated for this website, contact us for status.

    International
    Depending on where you’re located, we offer next day delivery. Check your status on this link

    Looking to test and debug your product to human body and machine model tests? Rent or buy the HBM/MM RC Network Package for the Teseq NSG 438 ESD Simulator Gun. Package Includes: INA 4561 per Mil-STD 883: 100pF/1500Ohms INA 4569 200pF/0Ohms

    In Stock  In Stock
    Monday to friday we offer next day delivery if the product is in stock and exceptions on holidays.

    Request Lead Time
    Equipment comes and goes everyday, we aren't automated for this website, contact us for status.

    International
    Depending on where you’re located, we offer next day delivery. Check your status on this link

    $450.00

  • HCP Horizontal Coupling Plane Including Resistor Cable (2 x 470 kOhm resistors) - ESD Test Setup - ESDGuns.com

    ESDGuns.com HCP Horizontal Coupling Plane Including Resistor Cable (2 x 470 kOhm resistors)

    In Stock  In Stock
    Monday to friday we offer next day delivery if the product is in stock and exceptions on holidays.

    Request Lead Time
    Equipment comes and goes everyday, we aren't automated for this website, contact us for status.

    International
    Depending on where you’re located, we offer next day delivery. Check your status on this link

    Order Horizontal Coupling Plane Including Resistor Cable (2 x 470 kOhm resistors) online today. ESDGuns.com is the ultimate online store for ESD testing.

    In Stock  In Stock
    Monday to friday we offer next day delivery if the product is in stock and exceptions on holidays.

    Request Lead Time
    Equipment comes and goes everyday, we aren't automated for this website, contact us for status.

    International
    Depending on where you’re located, we offer next day delivery. Check your status on this link

    $695.00

  • Insulating Support for Wall Mounted Equipment - ESDguns.com setup with VCP, power supplies, and protective conductor per IEC 61000-4-2:2025. Wall-mounted equipment on insulating support with ESD test setup including 470 kΩ resistor and VCP block, compliant with IEC 61000-4-2:2025.

    ESDGuns.com Insulating Support for Wall Mounted Equipment

    In Stock  In Stock
    Monday to friday we offer next day delivery if the product is in stock and exceptions on holidays.

    Request Lead Time
    Equipment comes and goes everyday, we aren't automated for this website, contact us for status.

    International
    Depending on where you’re located, we offer next day delivery. Check your status on this link

    Non conductive support (wood typically) for testing wall mounted electronics according to IEC 61000-4-2 edition 3. Mounting area is 1.5m by 1.5m to comply for small electronics (under .5m in length and width) and custom sizes are available as well. False walls to reproduce real world scenarios are available to be mounted on the insulating support for the non-conducted surface test.

    In Stock  In Stock
    Monday to friday we offer next day delivery if the product is in stock and exceptions on holidays.

    Request Lead Time
    Equipment comes and goes everyday, we aren't automated for this website, contact us for status.

    International
    Depending on where you’re located, we offer next day delivery. Check your status on this link

    $0.00

  • Langer-EMV P331-2 ESD Pulse Injection Generator probe for IEC 61000-4-2 compliance, used in IC and PCB immunity testing applications. Complete Langer-EMV P331-2 ESD Pulse Injection Generator IC test system kit with probe, cables, and accessories in a carry case for lab use.

    Langer EMV Langer-EMV P331-2 ESD Pulse Injection Generator

    In Stock  In Stock
    Monday to friday we offer next day delivery if the product is in stock and exceptions on holidays.

    Request Lead Time
    Equipment comes and goes everyday, we aren't automated for this website, contact us for status.

    International
    Depending on where you’re located, we offer next day delivery. Check your status on this link

    The P331-2 set is used for injecting ESD pulses into ICs. The P331-2 ESD generator orientates itself by mechanisms of the ESD coupling into electronic assemblies (according to IEC 61000-4-2 / HMM). The BPS 203 burst power station supplys and controls the P331-2 pulse generator. The Langer P331-2 ESD pulse injection generator is used for conducted ESD coupling in accordance with standard IEC 61000-4-2 (system level) / HMM (Human Metal Model - component level, acc. to ANSI/ESD SP5.6-2009) directly into IC pins or in conjunction with couplers for coupling into special high-speed interface pins such as USB, LVDS, Ethernet etc.

    In Stock  In Stock
    Monday to friday we offer next day delivery if the product is in stock and exceptions on holidays.

    Request Lead Time
    Equipment comes and goes everyday, we aren't automated for this website, contact us for status.

    International
    Depending on where you’re located, we offer next day delivery. Check your status on this link

    $295.00 - $2,495.00

  • Noiseken ESS-S3011 Advanced 30kV ESD Simulator System for Automotive, Commercial & Avionics Testing Noiseken ESS-S3011 Advanced 30kV ESD Simulator System for Automotive, Commercial & Avionics Testing

    Noiseken ESD Simulators Noiseken ESS-S3011 Advanced 30kV ESD Simulator System

    In Stock  In Stock
    Monday to friday we offer next day delivery if the product is in stock and exceptions on holidays.

    Request Lead Time
    Equipment comes and goes everyday, we aren't automated for this website, contact us for status.

    International
    Depending on where you’re located, we offer next day delivery. Check your status on this link

    The Noiseken ESS-S3011 30kV ESD simulator system is the most advanced ESD immunity test solution on the market. Noiseken ESS-S3011 Features: “Pre-checking function” taking the confirmable test into the account “Discharge Detecting Function” to realize the air-discharge confirmation. “Lightest Discharge Gun in the market” to lighten the continual operation White LED Irradiator to facilitate the visualization of the discharging area. One-touch exchange of gun head and CR unit realized

    In Stock  In Stock
    Monday to friday we offer next day delivery if the product is in stock and exceptions on holidays.

    Request Lead Time
    Equipment comes and goes everyday, we aren't automated for this website, contact us for status.

    International
    Depending on where you’re located, we offer next day delivery. Check your status on this link

    $0.00 - $3,295.00

  • Keytek Minizap MZ-15/EC 15kV ESD Simulator Gun Standard rental package supplied with the Keytek Minizap MZ-15/EC ESD Gun

    Thermo Keytek Rent Keytek Minizap MZ-15-EC 15kV ESD Simulator Gun

    In Stock  In Stock
    Monday to friday we offer next day delivery if the product is in stock and exceptions on holidays.

    Request Lead Time
    Equipment comes and goes everyday, we aren't automated for this website, contact us for status.

    International
    Depending on where you’re located, we offer next day delivery. Check your status on this link

    The Thermo Scientific Keytek Minizap MZ-15/EC 16kV ESD simulator gun is a totally integrated lightweight hand-held tester featuring ease of use, and the ability to withstand long-term operation in rugged environments. By simply interchanging plug-in tips, you can test to risetime standards, as well as do ‘reality checks’ that indicate product performance in intended environments. Multiple ESD events can be generated by a human discharge, and also by other ESD simulators that introduce additional artificial and energetic multiple discharges. The MiniZap does not use a voltage multiplier, and won’t introduce testing errors and uncertainties due to streams of artificial, high-level ESD multiples. With its constant-voltage ESD simulator design feeding back and monitoring right from the tip, you know the EXACT voltage at which you’ve tested. The correct tip voltage is maintained to the instant of discharge; it then drops to prevent simulator-induced multiple The Keytek MiniZap MZ-15/EC test system is a self-contained ESD simulator gun that enables users to perform direct, indirect & diagnostic ESD testing via interchangeable plug-in tips.  ESD is the most common cause of failure in computer-based equipment, and susceptibilities often occur during installation and networking. The diagnosis and remedy for ESD failures typically require test procedures developed in R&D, but implemented by QC, manufacturing, and field service. Practical and reliable, the KeyTek MiniZap MZ-15/EC ESD simulator gun and options are designed specifically for demanding applications such as these. It generates ESD simulation pulses that are real world, repeatable and correlatable – mandatory performance criteria for a company-wide ESD test program. Keytek Minizap MZ-15/EC Features: Intuitive operation Portable & self-contained Meets exact requirements of IEC 61000-4-2 Contact mode & air discharge ESD testing Generates real world, repeatable & correlatable ESD pulses E & H Field diagnostics Built-in safety features Field-configurable Rechargeable battery or AC powered

    In Stock  In Stock
    Monday to friday we offer next day delivery if the product is in stock and exceptions on holidays.

    Request Lead Time
    Equipment comes and goes everyday, we aren't automated for this website, contact us for status.

    International
    Depending on where you’re located, we offer next day delivery. Check your status on this link

    $295.00 - $495.00

  • Rental - ISO 10605 Automotive RC Module Package for Teseq NSG 438

    Teseq ESD Guns Rental - ISO 10605 Automotive RC Module Package for Teseq NSG 438

    In Stock  In Stock
    Monday to friday we offer next day delivery if the product is in stock and exceptions on holidays.

    Request Lead Time
    Equipment comes and goes everyday, we aren't automated for this website, contact us for status.

    International
    Depending on where you’re located, we offer next day delivery. Check your status on this link

    Automotive Package includes: INA 4381: 150 pF /2000 Ohms INA 4382: 330pF / 2000 Ohms INA 4553: 330 pF / 330 Ohms 150pF/330Ohm Standard Network Supplied with Every ESD Gun Calibrated with Teseq NSG 438 2 Days Free Transit - 30 Day Billing Cycle

    In Stock  In Stock
    Monday to friday we offer next day delivery if the product is in stock and exceptions on holidays.

    Request Lead Time
    Equipment comes and goes everyday, we aren't automated for this website, contact us for status.

    International
    Depending on where you’re located, we offer next day delivery. Check your status on this link

    $267.00 - $467.00

  • Rental - ISO 10605 Automotive RC Module Package for Haefely ONYX 16 & 30 Rental - ISO 10605 Automotive RC Module Package for Haefely ONYX 16 & 30

    Haefely ESD Generators Rental - ISO 10605 Automotive RC Module Package for Haefely ONYX 16 & 30

    In Stock  In Stock
    Monday to friday we offer next day delivery if the product is in stock and exceptions on holidays.

    Request Lead Time
    Equipment comes and goes everyday, we aren't automated for this website, contact us for status.

    International
    Depending on where you’re located, we offer next day delivery. Check your status on this link

     The Haefely ISO 10605 Automotive RC Module Package is for use only with the: Haefely ONYX 16 kV or Haefely ONYX 30 kV Specifications: Capacitance: 150 pF, 330 pF Resistance: 330Ω, 2 kΩ Test Standards Met: ISO 10605 (2001), (2008)

    In Stock  In Stock
    Monday to friday we offer next day delivery if the product is in stock and exceptions on holidays.

    Request Lead Time
    Equipment comes and goes everyday, we aren't automated for this website, contact us for status.

    International
    Depending on where you’re located, we offer next day delivery. Check your status on this link

    $267.00

  • Set-up & Apparatus for Automotive ESD Testing to ISO 10605 Set-up & Apparatus for Automotive ESD Testing to ISO 10605

    ESDGuns.com Set-up & Apparatus for Automotive ESD Testing to ISO 10605

    In Stock  In Stock
    Monday to friday we offer next day delivery if the product is in stock and exceptions on holidays.

    Request Lead Time
    Equipment comes and goes everyday, we aren't automated for this website, contact us for status.

    International
    Depending on where you’re located, we offer next day delivery. Check your status on this link

    ESDGuns.com will provide you a ready to go, easy ESD setup for according to ISO 10605. The ISO 10605 test setup package is ideal for conducting component and sub-assembly tests for all test methods. The ESD test setup is the only turnkey solution on the market for automotive ESD testing.    ESD Test Table Includes: Wood Table with built in HCP Ground Reference Plane 50 mm Insulation Block Set Insulating Support Sheet Grounding Cableswith 470 kOhm resistors (1 MOhm total) Horizontal Coupling Plane from Annex F (Optional) Ordering Options: New - Typically in Stock Demos - Inquire for Availability Rentals - Typically in Stock Packaged w/ ESD Simulator - Please Contact Us for Current Promotions and Discounts *The ISO 10605 ESD Environment is shipped freight and requires moderate setup. Freight shipping varies from $300-$500 across North America.

    In Stock  In Stock
    Monday to friday we offer next day delivery if the product is in stock and exceptions on holidays.

    Request Lead Time
    Equipment comes and goes everyday, we aren't automated for this website, contact us for status.

    International
    Depending on where you’re located, we offer next day delivery. Check your status on this link

    $750.00 - $7,500.00

  • Teseq NSG 437 Electrostatic Discharge (ESD) Simulator Gun for GR-1089 & IEC 61000-4-2 Teseq NSG 437 Electrostatic Discharge (ESD) Simulator Gun for GR-1089 & IEC 61000-4-2

    Teseq ESD Guns Teseq NSG 437 Electrostatic Discharge (ESD) Simulator Gun

    In Stock  In Stock
    Monday to friday we offer next day delivery if the product is in stock and exceptions on holidays.

    Request Lead Time
    Equipment comes and goes everyday, we aren't automated for this website, contact us for status.

    International
    Depending on where you’re located, we offer next day delivery. Check your status on this link

    Teseq NSG 437 Features: Air- and contact-discharge to 30 kV Color touch panel control Advanced voltage-hold feature Activity log Light version with uncompromising test performance Compliant with a huge range of OEM and international standards Easily and quickly interchangeable discharge networks Discharge detector Ergonomic design and advanced functionality. The Teseq NSG 437 Electrostatic Discharge (ESD) Simulator Gun for GR-1089 & IEC 61000-4-2 is designed to sit comfortably in the operator’s hand, with operating conditions constantly displayed and accessible on a bright, clear color touch display.Teseq NSG 437 comprehensively fulfills virtually all international standard requirements. Based on over 60 optional discharge networks, the NSG 437 can meet any of today’s automotive manufacturers’ standards.The simulator is simple, convenient and safe to use. The whole range of parameter settings including polarity selection, freely adjustable pulse repetition, counter functions and discharge detection is available up to the maximum discharge voltage.The color touch display and keypad for parameter input shows the precise functional and test data with user-selectable language for convenient and safe operation worldwide. The simulator contains variable threshold selection for accurate discharge detection. This detection feature can be switched off when testing EUT’s with non-conductive surfaces, such as plastic housings. Pre-programmed settings for IEC 61000-4-2 and ISO 10605 ensure that the simulator is automatically set up correctly and the appropriate discharge network is installed. The actual RC value is displayed at all times. Molded HV discharge networks in solid cases eliminate ionization and leakage current effects. Precisely tuned combinations of RC components guarantee wave shape parameters to be within tolerances. A unique activity log is included so that the types and numbers of ESD simulations can be easily scrolled through to check what has been tested and in what timeframe. Teseq NSG 437 Ordering Options: Teseq NSG 437: COMPREHENSIVE ESD SIMULATION SYSTEM (30kV air and contact) Includes: Discharge Pistol, IEC 61000-4-2 330 Ohm/150pF High Voltage Network, charging unit 80 – 240VAC, Ground cable, User manual Teseq NSG 437 Automotive: COMPREHENSIVE AUTOMOTIVE ESD SIMULATION SYSTEM (30kV air and contact) with the following four RC networks: INA 4380 IEC 61000-4-2 Discharge Network 330 Ohm/150pF INA 4381 ISO 10605 Discharge Network, 150pF/2kOhm INA 4382 ISO 10605 Discharge Network, 330pF/2kOhm INA 4553 Discharge Network 330pF/330Ohm Also includes: Discharge Pistol, High Voltage Network, Mains adapter / charging unit 80 –240VAC, Ground cable, User manual Rentals of the Teseq NSG 437 available on a month to month basis.  

    In Stock  In Stock
    Monday to friday we offer next day delivery if the product is in stock and exceptions on holidays.

    Request Lead Time
    Equipment comes and goes everyday, we aren't automated for this website, contact us for status.

    International
    Depending on where you’re located, we offer next day delivery. Check your status on this link

    $483.30 - $1,053.90

  • VCP-FS Floor Standing Vertical Coupling Plane with Voltage Bleeding Cable VCP-FS Floor Standing Vertical Coupling Plane with Voltage Bleeding Cable

    ESDGuns.com VCP-FS Floor Standing Vertical Coupling Plane with Voltage Bleeding Cable

    In Stock  In Stock
    Monday to friday we offer next day delivery if the product is in stock and exceptions on holidays.

    Request Lead Time
    Equipment comes and goes everyday, we aren't automated for this website, contact us for status.

    International
    Depending on where you’re located, we offer next day delivery. Check your status on this link

    VCP-FS Floor Standing Vertical Coupling Plane consists of: VCP Aluminum 20" by 20" (Larger sizes available upon request) Wood Stand with casters Vertical post with multiple height positions Ground Cable with 470k Ohm resistors for voltage bleeding

    In Stock  In Stock
    Monday to friday we offer next day delivery if the product is in stock and exceptions on holidays.

    Request Lead Time
    Equipment comes and goes everyday, we aren't automated for this website, contact us for status.

    International
    Depending on where you’re located, we offer next day delivery. Check your status on this link

    $1,475.00

  • .8 meter Wood Only Test Table/Bench Completely non-conducted wood table made in the USA

    ESDGuns.com Wood Table in Accordance to IEC 61000-4-2

    In Stock  In Stock
    Monday to friday we offer next day delivery if the product is in stock and exceptions on holidays.

    Request Lead Time
    Equipment comes and goes everyday, we aren't automated for this website, contact us for status.

    International
    Depending on where you’re located, we offer next day delivery. Check your status on this link

    The complete ESD Test Setup includes a built in horizontal coupling plane with access points for the indirect portion of the test. This standard wood table removes the horizontal plane and leaving a standard wood top, allowing for multi-purpose use with other test standards. Custom sizes and other modifications are available upon request. IEC/EN 61000-4-2 Non-Conductive Wood Table Overview Wood Table made of High quality wood (Typically Lauan) Reinforced for sturdiness and weight load up to 750 pounds Typical Dims 160 cm x 80 cm x 80 cm Approximate 110 lbs

    In Stock  In Stock
    Monday to friday we offer next day delivery if the product is in stock and exceptions on holidays.

    Request Lead Time
    Equipment comes and goes everyday, we aren't automated for this website, contact us for status.

    International
    Depending on where you’re located, we offer next day delivery. Check your status on this link

    $1,775.00 - $2,375.00

COMMON ESD TEST REQUIREMENTS

Login

Forgot your password?

Don't have an account yet?
Create account