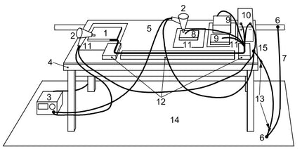
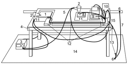
Set-up & Apparatus for Automotive ESD Testing to ISO 10605
$7,500.00 + Shipping
Accessory Kit
ESDGuns.com will provide you a ready to go, easy ESD setup for according to ISO 10605. The ISO 10605 test setup package is ideal for conducting component and sub-assembly tests for all test methods. The ESD test setup is the only turnkey solution on the market for automotive ESD testing.
ESD Test Table Includes:
- Wood Table with built in HCP
- Ground Reference Plane
- 50 mm Insulation Block Set
- Insulating Support Sheet
- Grounding Cableswith 470 kOhm resistors (1 MOhm total)
- Horizontal Coupling Plane from Annex F (Optional)
Ordering Options:
- New - Typically in Stock
- Demos - Inquire for Availability
- Rentals - Typically in Stock
- Packaged w/ ESD Simulator - Please Contact Us for Current Promotions and Discounts
*The ISO 10605 ESD Environment is shipped freight and requires moderate setup. Freight shipping varies from $300-$500 across North America.
Features
- Suitable for ISO 10605 ESD Testing
- Easy setup
- Fast delivery
- Suitable for most automotive component level ESD testing.
- Aluminum or Copper options

Ask & Learn
Previous answers and questions posted below
Learn by asking questions, practicing, and getting guidance